Porsсhe запатентовал убирающийся руль и педали для системы автопилота
.jpg)
Porsche оформил международный патент на складывающиеся руль и педали - для использования во время движения автомобиля в режиме автопилота.
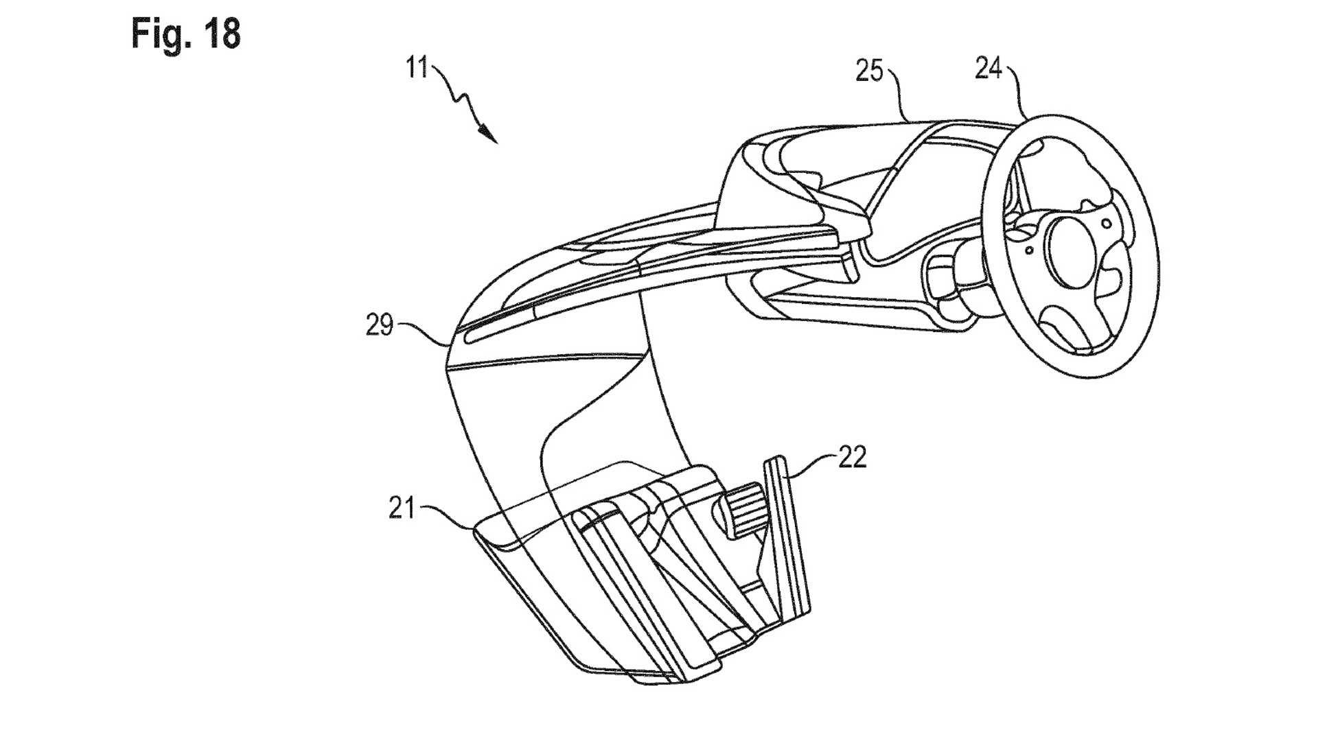
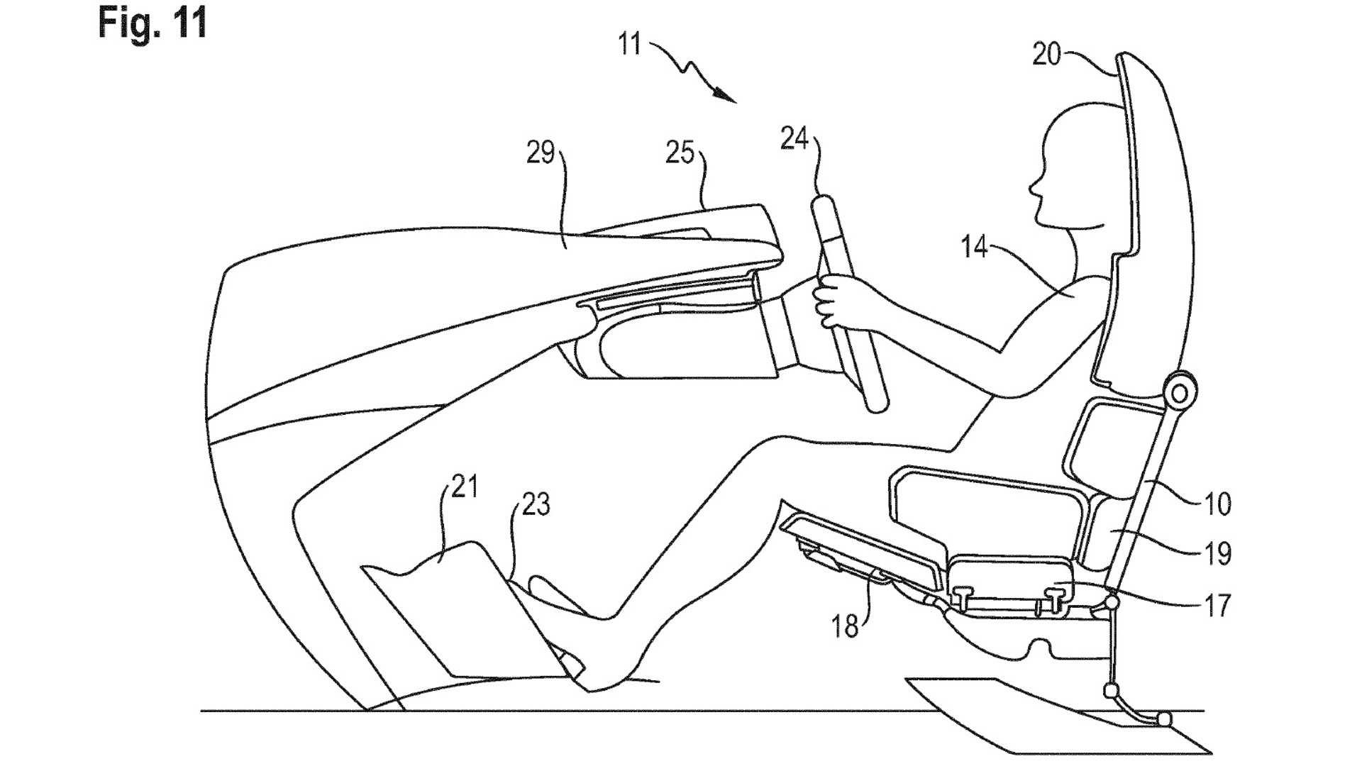
В запатентованной системе три подвижных узла: сиденье с обилием регулировок, втягивающийся в переднюю панель руль и педальный узел на перемещающейся продольно подставке.
В ситуации, когда автомобиль ведет человек, сервоприводы используются для традиционной настройки органов управления под него. При езде в режиме автопилота, сиденье отъезжает назад и откидывает спинку (сообщая телу расслабленное положение лежа), втягивает руль в переднюю панель и выдвигает опору для поднятых над полом ступней.
.jpg)
Возможны и промежуточные положения органов управления - например, руль втянут, педали убраны, сиденье отодвинуто, но водитель не лежит, а сидит - положение удобное для работы на ноутбуке.
Очевидно, если такая система найдет воплощение на серийных продуктах, то это будут в первую очередь электромобили с органами управления "по проводам" без механической связи с узлами.
